Illustration by The New York Times
Some do indeed understand the fuzzy logic.
These images are pixel orientated. They describe a process of thinking that is quite impermeable to the everyday biological function of the thinking brain that we have devised a way in which to represent the process of marketing for the populace at large that is by it’s own standard, not real?
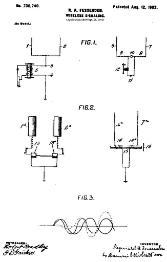
First came the heterodyne. The principle of “beats” or difference tones between simultaneous audio pitches was well known since antiquity, but Reginald Fessenden in 1901 was the first to apply the principle to radio transmissions [3]. Originally both radio frequencies were to be transmitted, received with two antennas, and combined in a detector. Later a local oscillator was substituted for one of the transmitter-receiver combinations and the heterodyne as we know it was born. Fessenden himself coined the term, from the Greek heteros (other) and dynamis (force).<a href="http://www.antiqueradios.com/superhet/" target=_Blank title="Who Invented the Superheterodyne? By Alan Douglas
Originally published in the Proceedings of the Radio Club of America, Nov. 1990, Vol.64 no.3 -The Legacies of Edwin Howard Armstrong.”>Who Invented the Superheterodyne?
If memories can reside in the bulk, and the bulk is accessible to any thinking….what exists then as a schema of thought, that have been emotively crystallize in constituents of a finer particulate(pixels), and defined as some substrate of the thinking everyday world? Is reductionism then thought too, having run it’s course. If we think it, and thusly, so shall it be?
So then, there is “no finer substrate of the thinking mind” that is alloted to a movement of sorts, which gathers around, and becomes, all probabilistic futures, that will be connected, as if, in cause and effect that we were not aware of?
That then is a conclusion one can drawn and most certainly life goes on and we experience the world the way it is. There is no other view with which to tackle the simplicity of the world other then to take it as it is?
But wait!
***
Dr. Kip Thorne, Caltech 01-Relativity-The First 20th Century Revolution
This device is also used to dial into the history and memory of a soul and their functions of the past, as they are revealed through this screen.
While one may indeed think this is some story line, it is also an idea that rests in the creative facet of my thinking, that it was Jung’s world of the collective unconscious which held and does hold a validity of thinking, that all facets of these schemes, are real tangible things. They are the record of our history. How shall we record history then?
Thusly, as using these constituent factors of the reductionist principle of our everyday world, it then made sense to me, that we should be able to record history just as much as we watch preprogrammed medium aspects of television, that we could adjust the frequency, to hone in on such and such a date?
Ah! Time travel? No not really, just using what currently already exists out there in the bulk.
***
See:
Timeline

